本公司结合推广要求,开发了一套管理信息发布人员以及工作考核系统,名称叫信息发布管理平台(B2B推广管理系统),主要功能如下:
功能介绍:
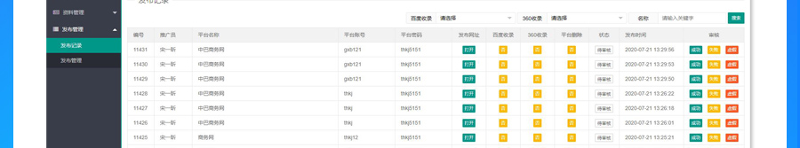
千站发布:将您的产品信息发布到上千个知名商贸网站及分类信息网站
发布管理:可以对员工发布的信息,进行逐条抽查
收录分析:系统自动分析各大搜索引擎数据收录与删除情况,如百度、360
数据分析:平台可以按人员、今日发布、昨日发布、本月发布、上月发布、收录总数、删除总数 等参数进行分析。
平台管理:信息发布平台账号、密码、网址,同步管理,不同人员分配不同平台,避免重复发送。
文章监管:发布的文章同步监管与审核,文章里可以设置主要关键词,如果员工不添加主要关键词,文章不可以发布。






























鲁公网安备 37089702000272号 备案号: 鲁ICP备18017594号